二进二出 频率转换隔离器
CZ3052  二进二出 频率转换隔离器
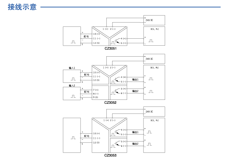
频率量输入信号隔离器,将现场仪表产生的频率量信号隔离输出,同时给现场仪表提供配电。频率输入采用滞回比较电路具有较高的抗干扰性能,频率输出有电平和晶体管输出两种方式。该产品需要独立供电,电源、输入和输出三隔离。
通道数:
二进二出
输入:
电平/NPN晶体管
配电:
5V/20mA
12V/20mA
24V/20mA
输出:
5V电平
12V电平
24V电平
晶体管
供电电压:
24VDC
CZ3052
Product details
Technichal Data
Download
点击咨询
contrast
enquire

二进二出 频率转换隔离器

二进二出 频率转换隔离器


二进二出 频率转换隔离器


可插拔接线端子 

二进二出 频率转换隔离器


安装与拆卸


二进二出 频率转换隔离器

二进二出 频率转换隔离器

二进二出 频率转换隔离器


CHENZHU EPLAN CZ3052.edz

基本参数
输入数据
电源
尺寸
外壳
EMC数据
使用环境
连接参数
安装
基本参数
通道数 2进2出
绝缘强度 1500V AC,1分钟(电源、输入、输出之间)
绝缘电阻 ≥100MΩ;500V DC (电源、输入、输出与外壳之间)
电磁兼容性 符合IEC 61326-1(GB/T 18268)
重量 约150g
连接的现场设备 二线制频率信号源;三线制频率信号源
输入数据
输入信号 电平
电源
供电电压(Ue) 20~35V DC
电源保护 电源反向保护
消耗电流 (24V供电,无配电时)≤55mA
供电方式 独立供电
电源连接方式 端子供电
尺寸
深度 114.5mm
高度 99.0mm
宽度 17.5mm
外壳
材料 PC
防护等级 IP20
阻燃等级 UL94/V0
颜色
EMC数据
电快速瞬变脉冲群抗扰度 依据标准:IEC 61326-1;符合基本要求
浪涌(冲击)抗扰度 依据标准:IEC 61326-1;符合基本要求
射频电磁场辐射抗扰度 依据标准:IEC 61326-1;符合基本要求
静电放电抗扰度 依据标准:IEC 61326-1;符合基本要求
射频场感应的传导骚扰抗扰度 依据标准:IEC 61326-1;符合基本要求
使用环境
连续工作温度 -20℃~+60℃
贮存温度 -40℃~+80℃
相对湿度 10%~90%
环境要求 周围环境中不得有强烈振动、冲击以及大电流和火花等电磁感应影响,空气中应不含有对铬、镍、银镀层起腐蚀作用的介质,应不含有易
连接参数
刚性导线可用横截面范围 0.5~2.5mm²
柔性导线可用横截面范围 0.5~2.5mm²
最小导线横截面AWG 12
最大导线横截面AWG 24
剥线长度 8mm
螺纹 M3
连接方式 螺钉连接
最小紧固扭矩 0.5 Nm
最大紧固扭矩 0.6 Nm
安装
安装方式 DIN35mm导轨安装
"Hey, let's talk about your concerns~"
I Want To Ask Questions
Cancel
Submit
Select All
No.
Type
Name/Description
Language
Download
1
Technical drawings
Chinese
2
Manual
Chinese
1
2
3
go contrast
empty contrast
My Enquiry 021-64360668
电话
QQ
QQ
电话
My Enquiry
0
Top
Top